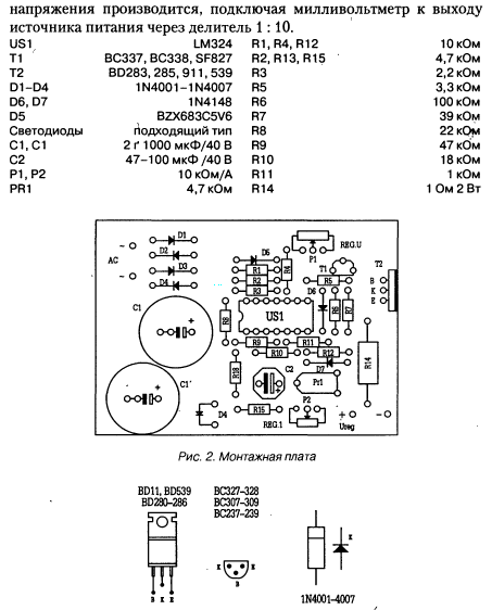
Для каждого радиолюбителя и электронщика важно иметь регулируемый блок питания, можно сказать, что регулируемый источник питания в лаборатории является основным прибором. Принципиальная схема регулируемого источника питания предлагается в этой заметке. Несмотря на простоту, предлагаемый источник питания имеет довольно неплохие характеристики. С помощью такого блока питания можно плавно регулировать выходное напряжение в пределах от 0 до 30 Вольт, а также можно плавно регулировать силу тока в пределах от 0 до 1 Ампера.



Комментариев нет:
Отправить комментарий